激光切割一問一答
發布者:鑫全利 發布時間:2020/6/22 15:11:29
影響激光切割機切割精度的因素是什么?
(1)、激光器聚焦光斑大小(與切割頭聚焦鏡大小、激光器發散角大小關聯),聚焦光斑小,切割線條精細、切割精度高。
(2)、工作臺精度,體現于機械部分(絲桿滾珠、齒輪齒條、臺面水平度)電氣控制部分(伺服電機、驅動器、切割控制系統),工作臺的精度是衡量切割精度非常重要的因素。
(3)、切割材料的不同,在同樣的情況下,切割鋁材與不銹鋼精度不同,切割不銹鋼的精度會高些,切面光滑度高。(材料密度)
切割功率對切割質量有哪些影響?
(1)、功率太小無法切割(如下圖:)

(2)、功率過大,整個切面熔化(如下圖:)

(3、)功率不足,切割后產生溶漬(如下圖:)

(4)、功率適當,切割面良好,無熔漬(如下圖:)

切割速度對切割質量有哪些影響?
(1)、切割速度過快可能產生以下影響:
a. 無法切透、火花亂噴。
b. 有些切透,有些沒有切透。
c. 整個切面較粗、不產生熔漬。
d. 切割面呈斜條紋路、下半部分產生熔漬,并可觀察切割火花判斷切割速度快慢。火花傾斜,說明切割速度過快。
(2)、切割速度過慢可能產生以下影響:
a. 造成過熔、切面粗糙。
b. 切縫變寬、轉角尖角部位熔化,火花呈現不擴散且少、聚集在一起、說明切割速度過慢。

(3)、切割速度適當,火花由上往下擴散

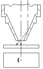
激光切割焦點與切割面的關系是什么?
激光切割應用中,焦點是關鍵參數,不同焦點位置對切割面影響至關重要。
如下圖文,仔細介紹切割焦點與切割面的關系:
(1)、焦點位置與切割面的關系

2、焦點位置對切割斷面的影響

切割頭噴嘴對切割質量有什么影響?
(1)噴嘴的作用:
1、防止切割時飛濺物反彈,穿過噴嘴,污染保護鏡片。
2、控制輔助氣體擴散面積及大小,從而控制切割質量。
(2)噴嘴與激光器QBH輸出光束不同軸會產生以下影響:
1、對切割斷面的影響,當輔助氣體從噴嘴吹出時,切斷面出現一邊有熔漬,另一邊沒有熔漬的現象。
2、對尖角的影響,切割圖形有尖角或角度較小時,會出現過熔的現象。
3、對穿孔有影響,穿孔不穩定,切割厚材料容易過熔,穿孔條件參數不易掌握。
(3)噴嘴孔中心與激光光束同軸調整
1、將不干膠或透明膠貼至噴嘴出口端面上。

2、調整激光器功率,10%-20%功率,使用點射出光。
3、點射完畢后,取下膠帶,注意保持方向,方便確定出光偏離位置。(如果激光光束偏離噴嘴距離過大,則在膠帶無法看出任何痕跡)。

4、注意觀察激光點偏離噴嘴的位置,調整切割頭上X/Y軸。

5、合格的出光位置如下:

(4)、噴嘴孔徑,噴嘴孔徑大小對切割質量與穿孔質量有關鍵的影響:

噴嘴Φ1、Φ1.5的差異:

創鑫激光生產的光纖激光器為哪一類輻射等級?
創鑫激光生產的光纖激光器為Class IV激光設備。此類產品發射1060nm左右波長的光,這個水平的光可能會造成對眼睛和皮膚的傷害。此發射光是不可見的,光束可能會造成眼角膜不可修復的傷害。我們不隨提供本產品激光護目鏡,但在激光器工作的時候必須要一直佩帶護目鏡。
WARNING:當激光器工作時,不要安裝瞄準器。
WARNING:在操作此類產品時,禁止直視輸出頭,并確保總是佩帶護目鏡。
更多安全提示,請詳細閱讀我們為您準備的產品說明書。
脈寬可調MOPA光纖激光器的脈沖寬度模式有什么區別?
區別詳見下表:

激光器不出光的主要檢查處理措施?
(1)、檢查設備的急停開關(PIN23針)是否正常(激光器正常工作時,此信號為高電平)。
(2)、激光器的電源供電是否正常,在空載與帶負載(接上激光器)狀態下測供電的電源是否符合實際供電要求。
(3)、指引光信號是否在打標狀態下是處于低電平狀態。如果在打標狀態下,引導光的信號為低電平(PIN22針為'0'電平),如果引導光的信號為高電平('1'電平)時,激光器是優先是輸出引導光。
(4)、PIN18,PIN19信號是否正常。
(5)、檢查激光器的供電接線是否正確,+24V、GND是否接反,地線是否接地。
(6)、檢查激光器的DB25串口的接線是否按照接線定義正確接線。
(7)、打標卡供電是否正常,控制激光器的信號是否正常(具體信號定義見DB25端口定義)。
(8)、軟件設置是否正確
激光器功率降低的主要原因及處理措施?
(1)、檢查電源供電是否穩定,電流是否達到額定工作電流。
(2)、查看光纖激光器準直輸出鏡鏡面是否有污染,如有污染可用棉簽沾上無水乙醇輕輕擦拭,不要刮花鏡面膜層。
(3)、查看其它光學鏡片是否污染如紅光合束鏡、振鏡、場鏡。
(4)、檢查激光器輸出光是否有被擋住(安裝時要確保隔離器輸出端與振鏡口要在同一水平上)。
(5)、激光器使用2萬小時后功率有所衰減屬正常功率損耗。
(6)、打標過程中有斷線,通常由于信號干擾引起,對此弱電與強電的引線不能同捆綁或同走在一側,信號線采用帶屏蔽功能的信號線;再者是電源的地沒有很好的接觸。
激光器日常維護及注意事項?
(1) 激光器工作時,不能接觸或碰撞掃描工作臺活動橫梁;(2) 激光器及光學鏡頭易碎,搬運時應小心輕放,并避免振動;
(3) 機內出現故障時,應立即停止工作,由專業工作人員處理;
(4) 注意開關機順序;
(5) 注意打標機幅面不得超過工作幅面;
(6) 注意保持室內及機器表面整潔干凈。
輔助氣體對切割質量有什么影響?
(1)、選擇輔助氣體的種類與壓力時,應從參照以下幾方面
1、一般使用氧氣切割碳鋼,低壓打孔,高壓切割。
2、一般使用氮氣切割不銹鋼。
3、氣體純度越高,切割質量越好,切割碳鋼材料氧氣純度至少在99.6%上,切割不銹鋼材料氮氣純度至少也要在99.6%以上。
(2)、輔助氣體對切割質量的影響如下:
1、氣體有助于散熱及助燃,吹掉熔漬。
2、氣壓不足時,切割面會產生深漬,切割速度無法增快,影響效率。
3、氣壓過大時,切割面較粗,切割縫隙大,造成部分切斷面熔化,影響切割質量。
(3)、輔助氣體對穿孔影響
1、氣體壓力過低時,不易穿透,時間過長。
2、氣體壓力過高時,造成穿透點熔化,形成大的熔化點。
3、建議薄材料穿孔氣壓高,厚材料氣壓低
(1)、激光器聚焦光斑大小(與切割頭聚焦鏡大小、激光器發散角大小關聯),聚焦光斑小,切割線條精細、切割精度高。
(2)、工作臺精度,體現于機械部分(絲桿滾珠、齒輪齒條、臺面水平度)電氣控制部分(伺服電機、驅動器、切割控制系統),工作臺的精度是衡量切割精度非常重要的因素。
(3)、切割材料的不同,在同樣的情況下,切割鋁材與不銹鋼精度不同,切割不銹鋼的精度會高些,切面光滑度高。(材料密度)
切割功率對切割質量有哪些影響?
(1)、功率太小無法切割(如下圖:)

(2)、功率過大,整個切面熔化(如下圖:)

(3、)功率不足,切割后產生溶漬(如下圖:)

(4)、功率適當,切割面良好,無熔漬(如下圖:)

切割速度對切割質量有哪些影響?
(1)、切割速度過快可能產生以下影響:
a. 無法切透、火花亂噴。
b. 有些切透,有些沒有切透。
c. 整個切面較粗、不產生熔漬。
d. 切割面呈斜條紋路、下半部分產生熔漬,并可觀察切割火花判斷切割速度快慢。火花傾斜,說明切割速度過快。

(2)、切割速度過慢可能產生以下影響:
a. 造成過熔、切面粗糙。
b. 切縫變寬、轉角尖角部位熔化,火花呈現不擴散且少、聚集在一起、說明切割速度過慢。

(3)、切割速度適當,火花由上往下擴散

激光切割焦點與切割面的關系是什么?
激光切割應用中,焦點是關鍵參數,不同焦點位置對切割面影響至關重要。
如下圖文,仔細介紹切割焦點與切割面的關系:
(1)、焦點位置與切割面的關系

2、焦點位置對切割斷面的影響

切割頭噴嘴對切割質量有什么影響?
(1)噴嘴的作用:
1、防止切割時飛濺物反彈,穿過噴嘴,污染保護鏡片。
2、控制輔助氣體擴散面積及大小,從而控制切割質量。
(2)噴嘴與激光器QBH輸出光束不同軸會產生以下影響:
1、對切割斷面的影響,當輔助氣體從噴嘴吹出時,切斷面出現一邊有熔漬,另一邊沒有熔漬的現象。
2、對尖角的影響,切割圖形有尖角或角度較小時,會出現過熔的現象。
3、對穿孔有影響,穿孔不穩定,切割厚材料容易過熔,穿孔條件參數不易掌握。
(3)噴嘴孔中心與激光光束同軸調整
1、將不干膠或透明膠貼至噴嘴出口端面上。

2、調整激光器功率,10%-20%功率,使用點射出光。
3、點射完畢后,取下膠帶,注意保持方向,方便確定出光偏離位置。(如果激光光束偏離噴嘴距離過大,則在膠帶無法看出任何痕跡)。

4、注意觀察激光點偏離噴嘴的位置,調整切割頭上X/Y軸。

5、合格的出光位置如下:

(4)、噴嘴孔徑,噴嘴孔徑大小對切割質量與穿孔質量有關鍵的影響:

噴嘴Φ1、Φ1.5的差異:

創鑫激光生產的光纖激光器為哪一類輻射等級?
創鑫激光生產的光纖激光器為Class IV激光設備。此類產品發射1060nm左右波長的光,這個水平的光可能會造成對眼睛和皮膚的傷害。此發射光是不可見的,光束可能會造成眼角膜不可修復的傷害。我們不隨提供本產品激光護目鏡,但在激光器工作的時候必須要一直佩帶護目鏡。
WARNING:當激光器工作時,不要安裝瞄準器。
WARNING:在操作此類產品時,禁止直視輸出頭,并確保總是佩帶護目鏡。
更多安全提示,請詳細閱讀我們為您準備的產品說明書。
脈寬可調MOPA光纖激光器的脈沖寬度模式有什么區別?
區別詳見下表:

激光器不出光的主要檢查處理措施?
(1)、檢查設備的急停開關(PIN23針)是否正常(激光器正常工作時,此信號為高電平)。
(2)、激光器的電源供電是否正常,在空載與帶負載(接上激光器)狀態下測供電的電源是否符合實際供電要求。
(3)、指引光信號是否在打標狀態下是處于低電平狀態。如果在打標狀態下,引導光的信號為低電平(PIN22針為'0'電平),如果引導光的信號為高電平('1'電平)時,激光器是優先是輸出引導光。
(4)、PIN18,PIN19信號是否正常。
(5)、檢查激光器的供電接線是否正確,+24V、GND是否接反,地線是否接地。
(6)、檢查激光器的DB25串口的接線是否按照接線定義正確接線。
(7)、打標卡供電是否正常,控制激光器的信號是否正常(具體信號定義見DB25端口定義)。
(8)、軟件設置是否正確
激光器功率降低的主要原因及處理措施?
(1)、檢查電源供電是否穩定,電流是否達到額定工作電流。
(2)、查看光纖激光器準直輸出鏡鏡面是否有污染,如有污染可用棉簽沾上無水乙醇輕輕擦拭,不要刮花鏡面膜層。
(3)、查看其它光學鏡片是否污染如紅光合束鏡、振鏡、場鏡。
(4)、檢查激光器輸出光是否有被擋住(安裝時要確保隔離器輸出端與振鏡口要在同一水平上)。
(5)、激光器使用2萬小時后功率有所衰減屬正常功率損耗。
(6)、打標過程中有斷線,通常由于信號干擾引起,對此弱電與強電的引線不能同捆綁或同走在一側,信號線采用帶屏蔽功能的信號線;再者是電源的地沒有很好的接觸。
激光器日常維護及注意事項?
(1) 激光器工作時,不能接觸或碰撞掃描工作臺活動橫梁;(2) 激光器及光學鏡頭易碎,搬運時應小心輕放,并避免振動;
(3) 機內出現故障時,應立即停止工作,由專業工作人員處理;
(4) 注意開關機順序;
(5) 注意打標機幅面不得超過工作幅面;
(6) 注意保持室內及機器表面整潔干凈。
輔助氣體對切割質量有什么影響?
(1)、選擇輔助氣體的種類與壓力時,應從參照以下幾方面
1、一般使用氧氣切割碳鋼,低壓打孔,高壓切割。
2、一般使用氮氣切割不銹鋼。
3、氣體純度越高,切割質量越好,切割碳鋼材料氧氣純度至少在99.6%上,切割不銹鋼材料氮氣純度至少也要在99.6%以上。
(2)、輔助氣體對切割質量的影響如下:
1、氣體有助于散熱及助燃,吹掉熔漬。
2、氣壓不足時,切割面會產生深漬,切割速度無法增快,影響效率。
3、氣壓過大時,切割面較粗,切割縫隙大,造成部分切斷面熔化,影響切割質量。
(3)、輔助氣體對穿孔影響
1、氣體壓力過低時,不易穿透,時間過長。
2、氣體壓力過高時,造成穿透點熔化,形成大的熔化點。
3、建議薄材料穿孔氣壓高,厚材料氣壓低
相關新聞
- [2021.05.06]【明日觀展推薦】鑫全利激光邀您…
- [2020.06.17]在切割生銹的材料時激光切割設備…
- [2020.06.22]鑫全利激光講解:光纖激光切割機是…
- [2021.04.27]鑫全利激光祝賀【津元課堂】開業…
- [2021.04.27]鑫全利激光五一放假通知
- [2021.04.22]鑫全利激光誠邀您參加2021年第七…
- [2020.06.22]鋁合金專用激光切割機——工業款…
- [2021.04.22]明天最后一天,中原廣告展不容錯過…
- [2021.04.22]開展首日,熱鬧非凡丨第十九屆成都…
- [2020.06.17]鑫全利紫外激光打標機能適用哪些…
- [2021.04.22]【鑫全利激光】歡迎雙鴨市領導蒞…
- [2020.06.22]光纖激光打標機功率不穩定的原因…
- [2021.04.20]第3屆廣東廣告標識現場交流體驗會…
- [2021.04.20]4.17中焊協論壇丨鑫全利激光為您…
- [2021.04.20]【明日觀展推薦】鑫全利激光邀您…
- [2020.06.22]使用光纖激光焊接機時的焊點會發…
- [2020.06.17]激光打標機選購小技巧
- [2020.06.22]激光焊接機焊接方式分幾種類型?
- [2020.06.22]光纖激光打標機的價格差異在哪些…
- [2020.06.17]激光切割機自動調焦頭有什么優勢…